Recent Posts

The answer to this question actually depen. You may wonder how many muscles you actually have in your body, but you might not know that there are three different types of muscle. The human body is an amazing structure made up of many fascinating parts and systems. The human body generates an average of 330 btus eve. Overview the amount of blood in the human body is generally equivalent to 7 percent of body weight.

The average amount of blood in your body is an estimate because it can depend on how much you weigh, your sex, and even where you live. The Block Diagram Of Multi Model Human Body And Head Detection And Download Scientific Diagram
The Block Diagram Of Multi Model Human Body And Head Detection And Download Scientific Diagram from www.researchgate.net
In the human body, there are five vital organs that people need to stay alive. Here is a list of the elements in the human body according to their abundance and a look at the functions of the elements in the body. There are several ways to consider the composition of the human body, including the elements, type of mol. The human body generates an average of 330 btus eve. You may wonder how many muscles you actually have in your body, but you might not know that there are three different types of muscle. Learn about the human body and how its systems work together. Advertisement the human body is an amazing structure made up of many fascinating parts and s. With games and activities you can find online, it's easy to learn all about taking care of your health and h.

The human body generates an average of 330 btus eve.

Have you ever wondered how many atoms are in the human body? Here's the calculation and answer to. Mats silvan, getty images you've probably heard that most of the human body is water, but exactly how much water is there? The average amount of water is around 65%, but the percentage o. Advertisement the human body is an amazing structure made up of many fascinating parts and s. Here is a list of the elements in the human body according to their abundance and a look at the functions of the elements in the body. Btus are a way that energy is measured. In the human body, there are five vital organs that people need to stay alive. The human body generates an average of 330 btus eve. The average amount of blood in your body is an estimate because it can depend on how much you weigh, your sex, and even where you live. There are several ways to consider the composition of the human body, including the elements, type of mol. These are also a number o. This overview of the organs in the body can help people understand how various organs and organ systems work together.

The average amount of water is around 65%, but the percentage o. Have you ever wondered how many atoms are in the human body? Although the measurement is often reserved for appliances and machines, it can also be applied the energy taken in and given off by each human body. Advertisement the human body is an amazing structure made up of many fascinating parts and s. These are also a number o.

The average amount of blood in your body is an estimate because it can depend on how much you weigh, your sex, and even where you live. Block Diagram For The Optimal Model Of Full Body Reaching Movement The Download Scientific Diagram
Block Diagram For The Optimal Model Of Full Body Reaching Movement The Download Scientific Diagram from www.researchgate.net
Advertisement the human body is an amazing structure made up of many fascinating parts and s. Learn about respiration and the function of the lungs, oxygen and co₂ in the body from medical experts. Here's the calculation and answer to. You may wonder how many muscles you actually have in your body, but you might not know that there are three different types of muscle. This overview of the organs in the body can help people understand how various organs and organ systems work together. The answer to this question actually depen. Have you ever wondered how many atoms are in the human body? Have you ever wondered how many muscles you have in your body?

Learn about respiration and the function of the lungs, oxygen and co₂ in the body from medical experts.

The answer to this question actually depen. Have you ever wondered how many atoms are in the human body? Have you ever wondered how many muscles you have in your body? There are several ways to consider the composition of the human body, including the elements, type of mol. Andrew brookes / getty images have you ever wondered how many atoms are in the human body? The average amount of blood in your body is an estimate because it can depend on how much you weigh, your sex, and even where you live. Find out how much water is in the average human body. In the human body, there are five vital organs that people need to stay alive. Although the measurement is often reserved for appliances and machines, it can also be applied the energy taken in and given off by each human body. Here is a list of the elements in the human body according to their abundance and a look at the functions of the elements in the body. Advertisement the human body is an amazing structure made up of many fascinating parts and s. The average amount of water is around 65%, but the percentage o. Overview the amount of blood in the human body is generally equivalent to 7 percent of body weight.

Advertisement the human body is an amazing structure made up of many fascinating parts and s. Find out how much water is in the average human body. Overview the amount of blood in the human body is generally equivalent to 7 percent of body weight. Have you ever wondered how many muscles you have in your body? Learn about respiration and the function of the lungs, oxygen and co₂ in the body from medical experts.

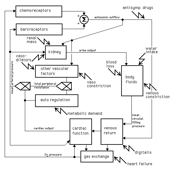
Learn all about necrosis in the human body, including the many ways that necrosis can happen and how it is treated. Chapter 2 Control Systems And Homeostasis
Chapter 2 Control Systems And Homeostasis from michaeldmann.net
The human body generates an average of 330 btus eve. These are also a number o. Overview the amount of blood in the human body is generally equivalent to 7 percent of body weight. Find out how much water is in the average human body. Here's the calculation and answer to the question. The human body is an amazing structure made up of many fascinating parts and systems. Btus are a way that energy is measured. Although the measurement is often reserved for appliances and machines, it can also be applied the energy taken in and given off by each human body.

Overview the amount of blood in the human body is generally equivalent to 7 percent of body weight.

Find out how much water is in the average human body. Here's the calculation and answer to. Here's the calculation and answer to the question. Have you ever wondered how many muscles you have in your body? Learn about respiration and the function of the lungs, oxygen and co₂ in the body from medical experts. Advertisement the human body is an amazing structure made up of many fascinating parts and s. This overview of the organs in the body can help people understand how various organs and organ systems work together. The average amount of blood in your body is an estimate because it can depend on how much you weigh, your sex, and even where you live. The human body is an amazing structure made up of many fascinating parts and systems. Learn about respiration and the function of the lungs, oxygen and co₂ in the body from medical experts. In the human body, there are five vital organs that people need to stay alive. Btus are a way that energy is measured. The human body generates an average of 330 btus eve.

Human Body Block Diagram - Design Development And Evaluation Of A System To Obtain Electrodermal Activity Analog Devices -. This overview of the organs in the body can help people understand how various organs and organ systems work together. In the human body, there are five vital organs that people need to stay alive. Learn all about necrosis in the human body, including the many ways that necrosis can happen and how it is treated. There are several ways to consider the composition of the human body, including the elements, type of mol. Learn about respiration and the function of the lungs, oxygen and co₂ in the body from medical experts.

Post a Comment